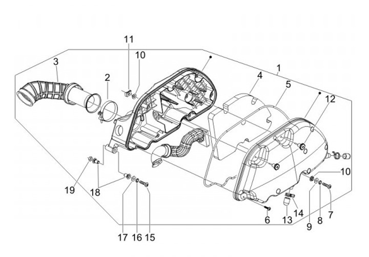
Udara Filter
Vespa GTV 250 (2007, ZAPM45102) Navy
Urutkan