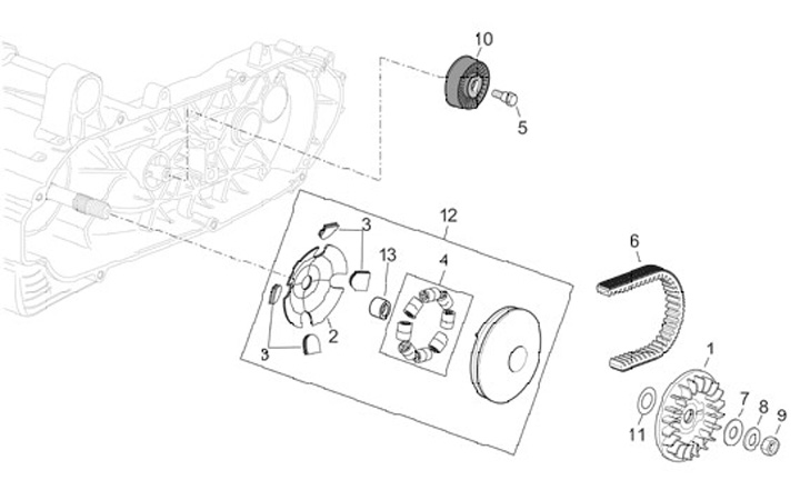
Variabel Riemenpulley
Aprilia Atlantic 400 (2005-2008, ZD4VLB)
Urutkan