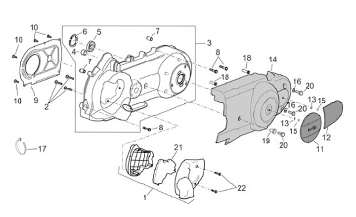
Coperchio carter motore
Aprilia Scarabeo 250 (2004-2006, ZD4TD)
Ordinamento