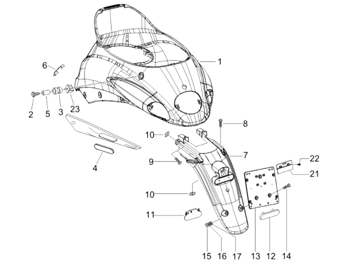
Fianchetto
Piaggio Liberty 125 (2007, ZAPM38600)
Ordinamento