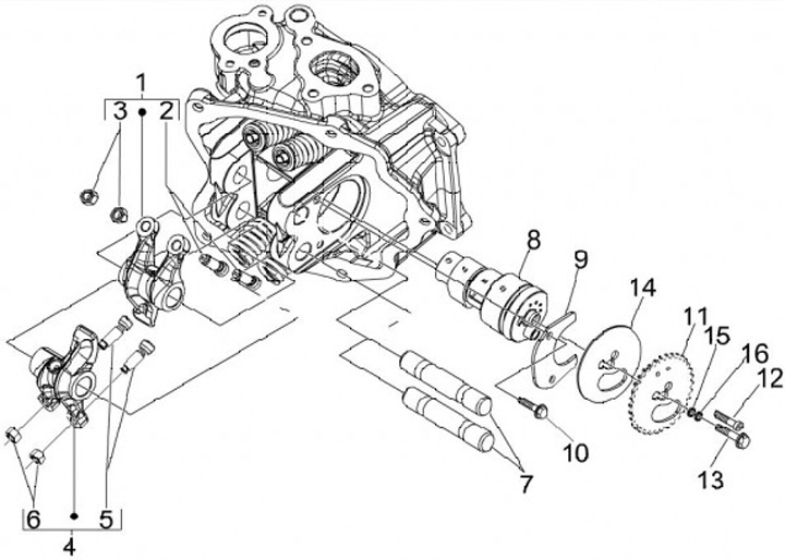
Leva bilanciere - albero a camme
Piaggio MP3 125 (2009, ZAPM65100)
Ordinamento