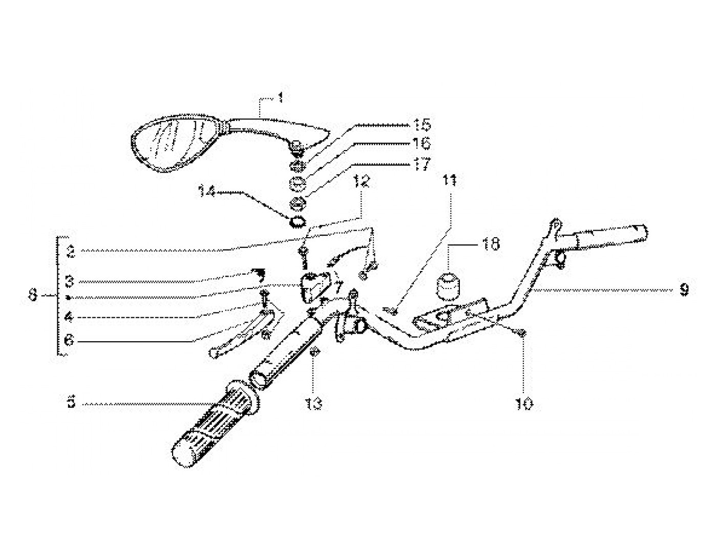
Manubrio sx
Vespa ET4 125 (2002, ZAPM190001)
Ordinamento