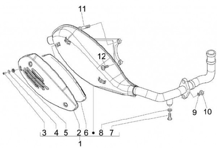
Marmitta
Vespa S 50 (2-tempi, 2010, ZAPC38103)
Ordinamento