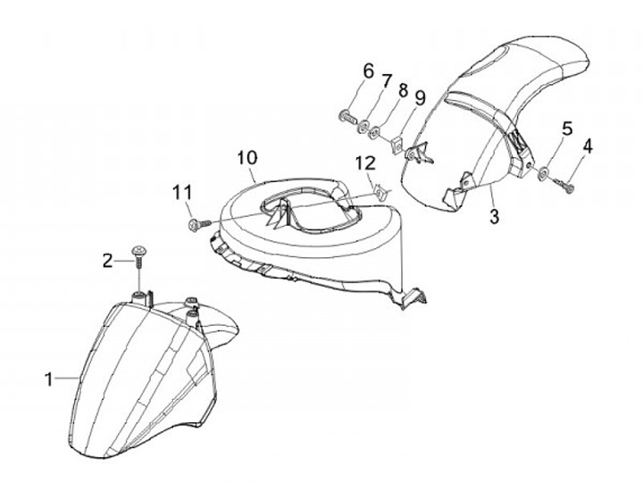
Parafango
Piaggio Fly 50 (2-tempi, 2004, ZAPC44100)
Ordinamento