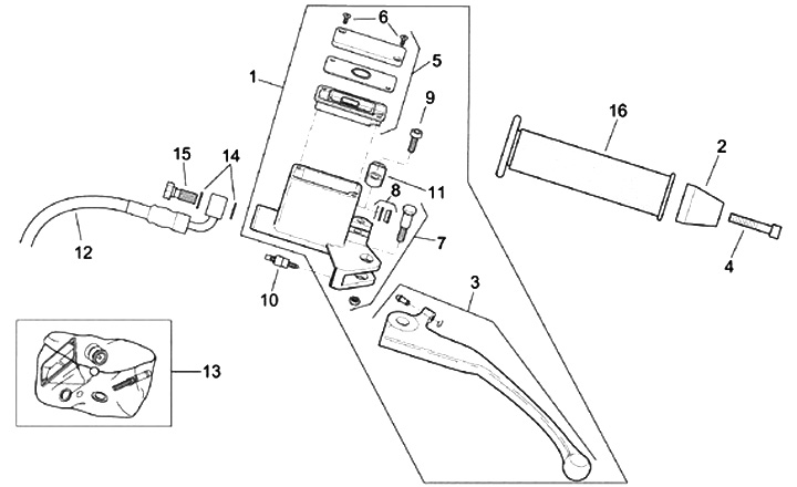
Pompa freno posteriore
Aprilia Leonardo ST 250 (2001, ZD4PD)
Ordinamento