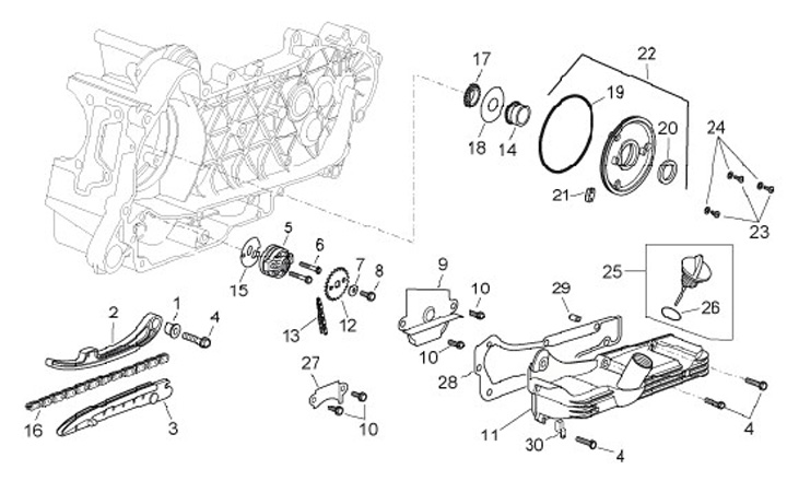
Pompa olio
Aprilia Sport City 125 Cube (2008-2013, ZD4VBE)
Ordinamento