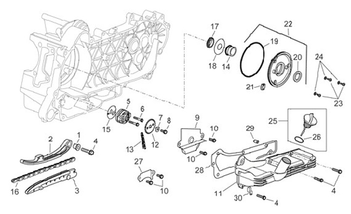
Pompa olio
Aprilia Sport City 250 Cube (2008-2012, ZD4VBH)
Ordinamento