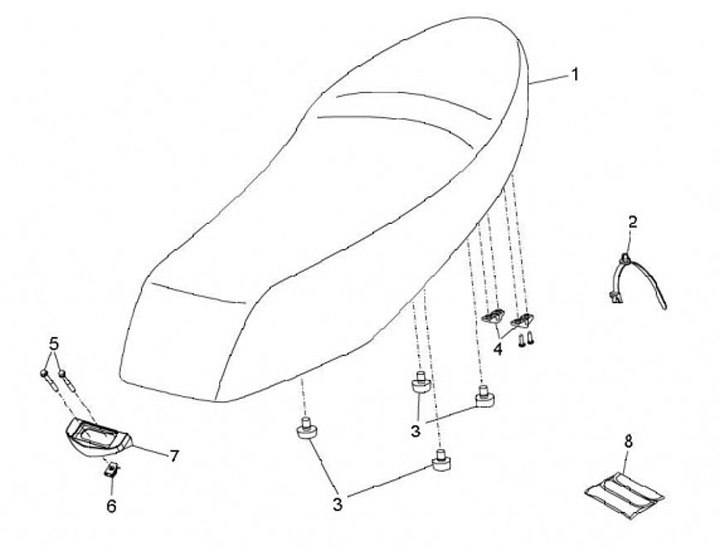
Sella
Piaggio Liberty 50 (2-tempi, 2009, ZAPC49100)
Ordinamento