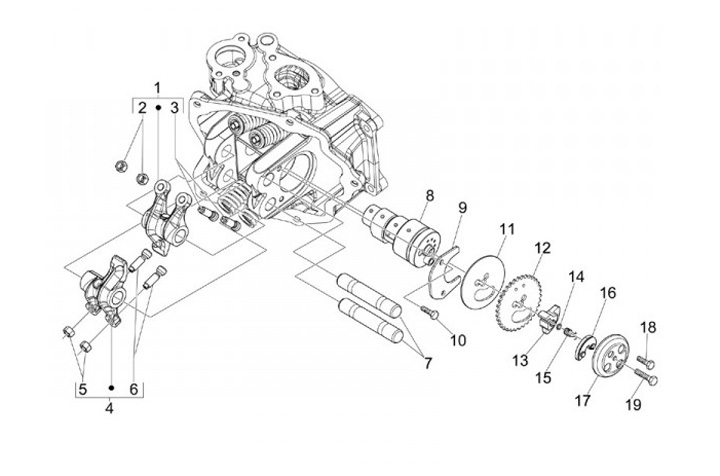
Supporto per braccio oscillante
Vespa GTV 250 (2007, ZAPM45102) Navy
Ordinamento