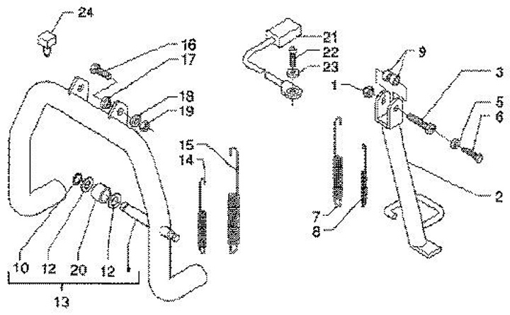
Hoofdstandaard - Zijstandaard
Piaggio X9 180 (2000-2002, ZAPM23000)
Sorteer