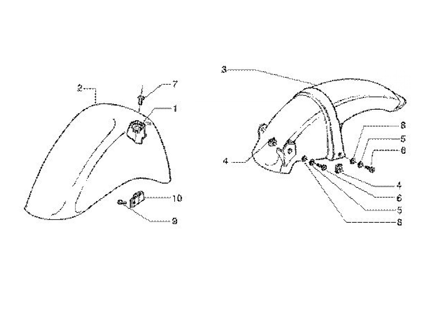
Spatbord
Vespa ET4 125 (2004, ZAPM190001)
Sorteer