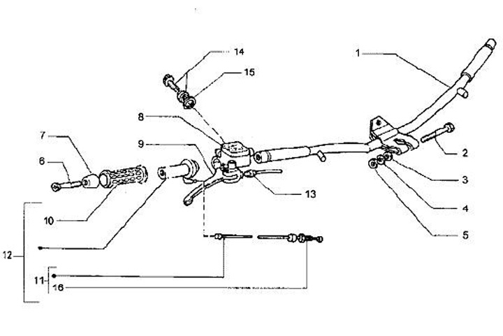
Stuur - Hoofdremcilinder Rechts
Piaggio Hexagon 125 (1998-2000, ZAPM05000)
Sorteer