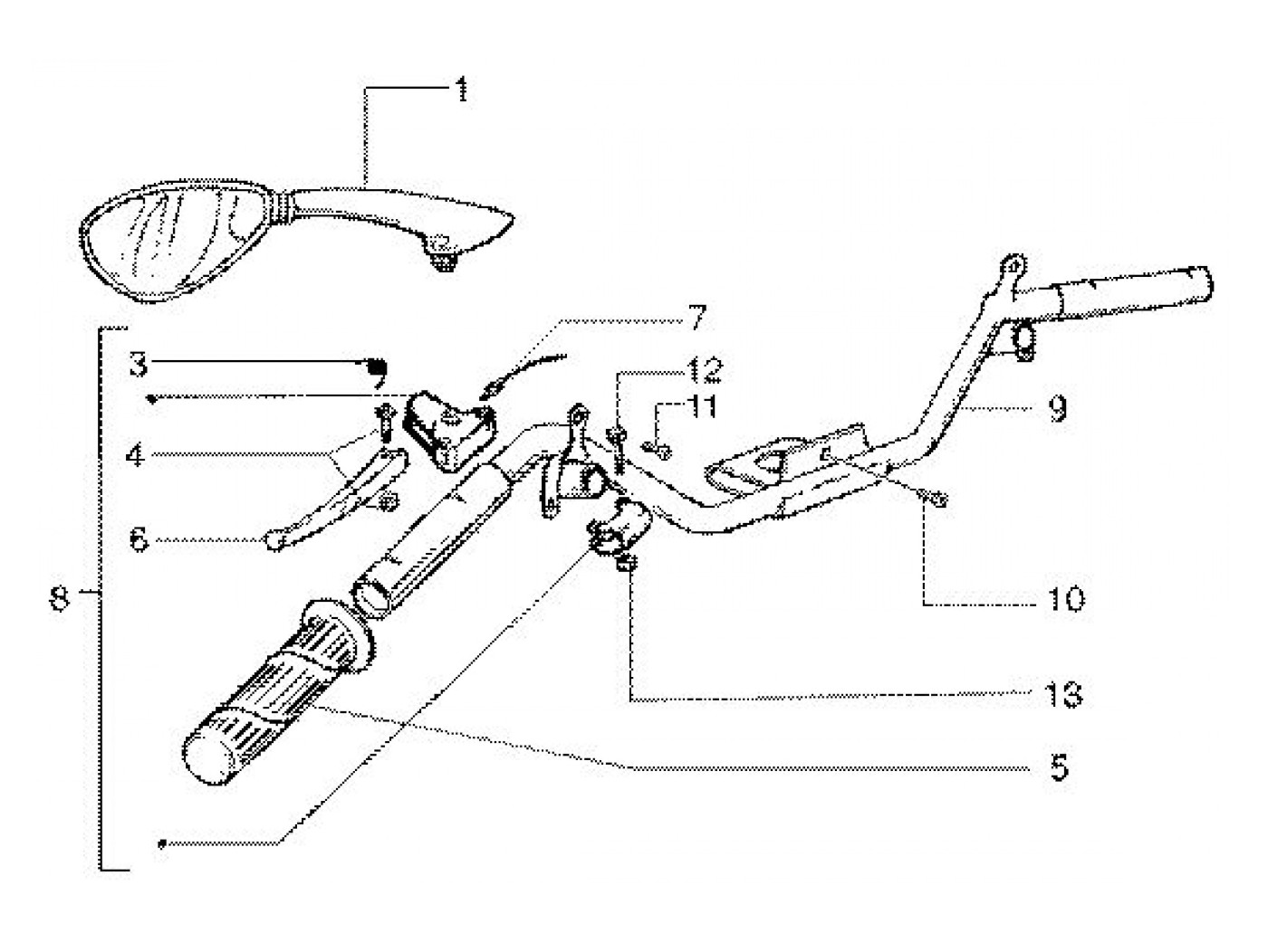
Stuur Links
Vespa ET4 50 (2004, ZAPC26100)
Sorteer