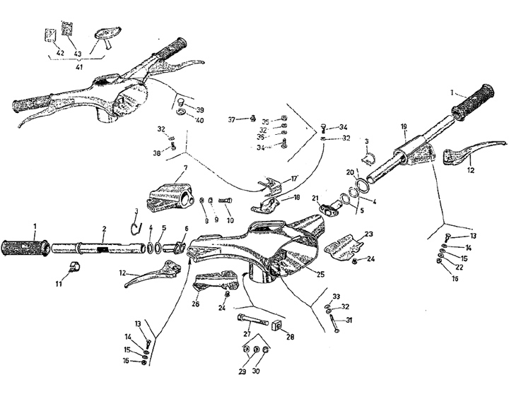
Stuur
Motovespa (ES) 150 GS (Motor 04M)
Sorteer