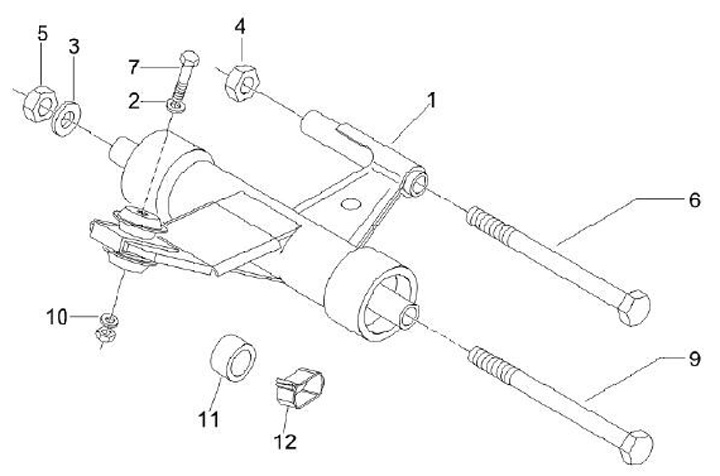
Zwenkarm
Vespa LX 50 Touring (4-Takt, 2013, ZAPC38700)
Sorteer