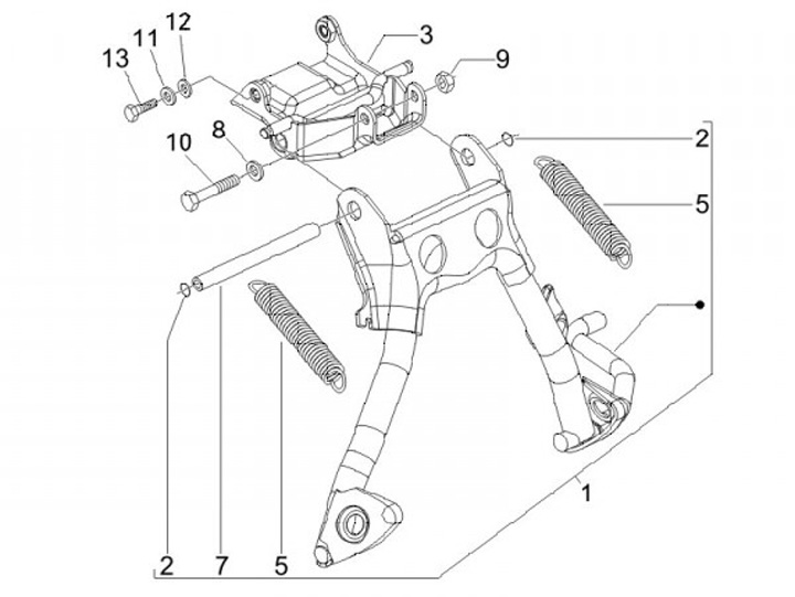
Centre stand
Gilera Stalker 50 (2006, ZAPC40100)
Sort