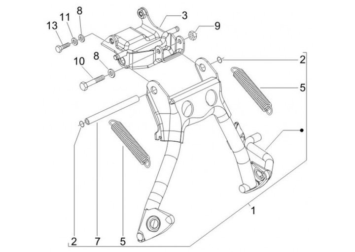
Centre stand
Gilera Runner 50 RST Purejet ST (2010, ZAPC46200)
Sort