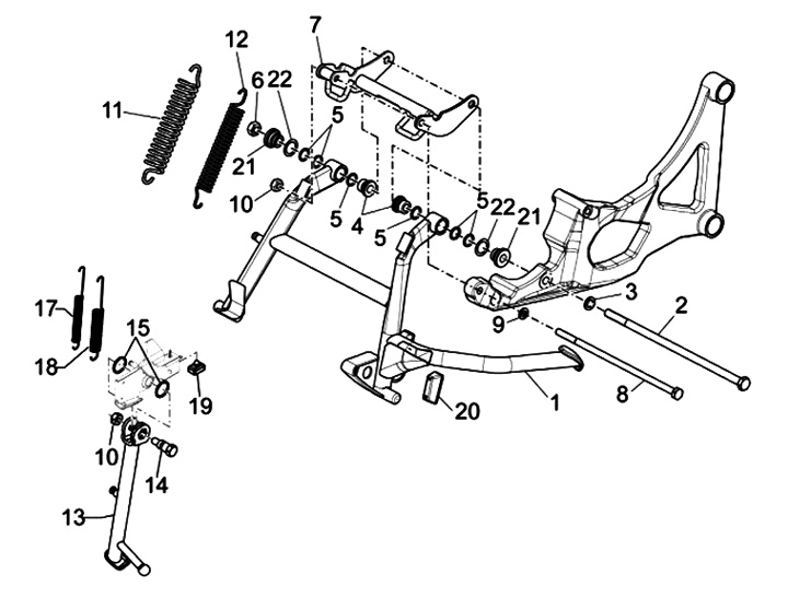
Centre stand
Aprilia SRV 850 (2013, ZAPM55103)
Sort