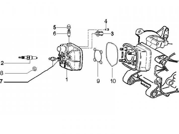
Cylinder head
Gilera Runner 50 RST SP (2006, ZAPC46100)
Sort