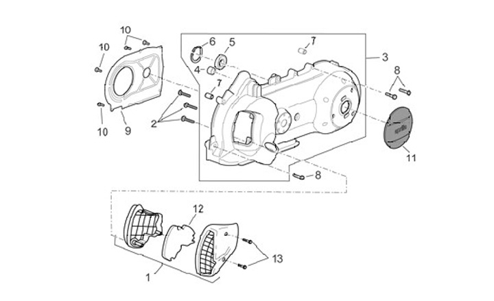
Engine casing cover
Aprilia Sport City 200 (2004-2008, ZD4VBA)
Sort