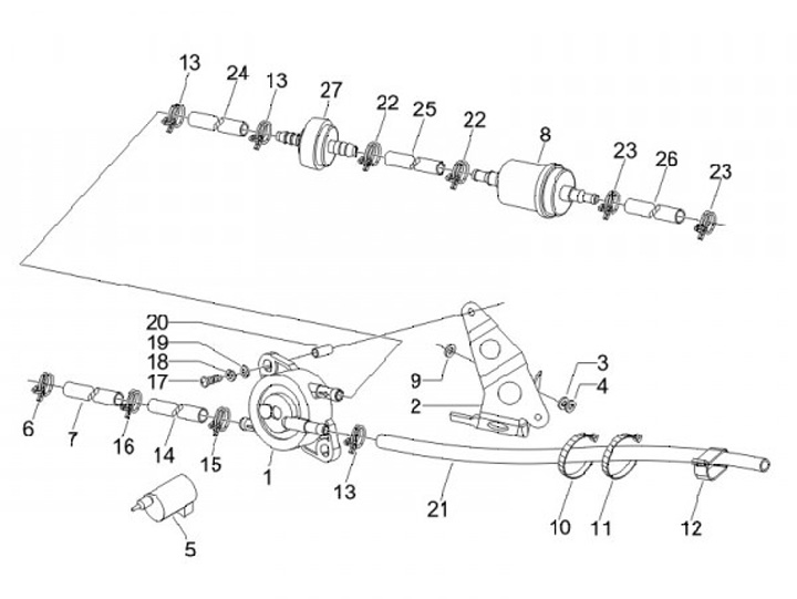
Fuel system
Gilera Runner 125 VX (2007, ZAPM46300)
Sort