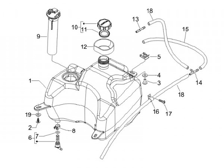
Fuel tank
Piaggio Carnaby 125 (2007, ZAPM60200)
Sort