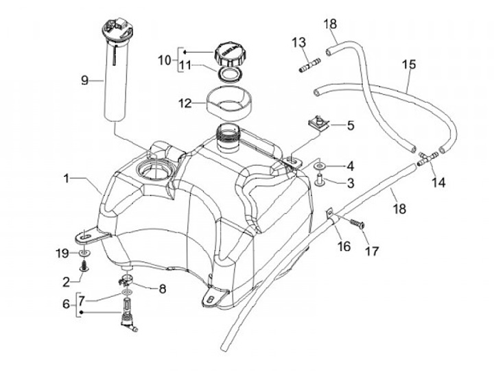
Fuel tank
Piaggio Carnaby 200 (2007, ZAPM60100)
Sort