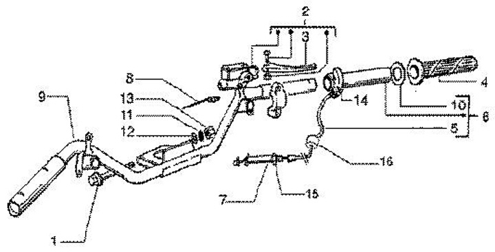
Handlebar - brake master cylinder right
Piaggio Liberty 50 (4-stroke, 2001, ZAPC28200)
Sort