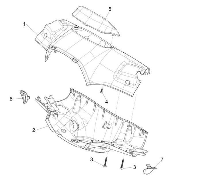
Handlebar top
Vespa Sprint 50 (4-stroke, 2016, ZAPC53303) 25km/h
Sort