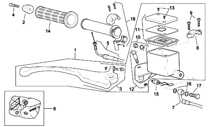
Handlebar
Aprilia Leonardo 250 (2002-2004, ZD4SV)
Sort