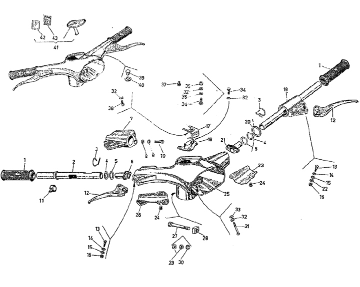
Handlebar
Motovespa (ES) 150 L (Engine V202M)
Sort