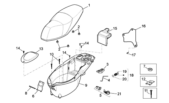
Helmet box
Aprilia Sport City One 50 (2-stroke, 2008-2011, ZD4TCA00)
Sort