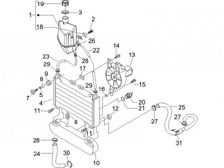
Radiator - ventilator
Piaggio Beverly 125 (2007, ZAPM28900)
Sort