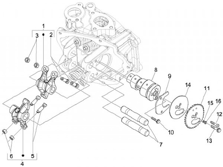
Rocker arm - camshaft
Piaggio Beverly 125 Tourer (2008, ZAPM28901)
Sort