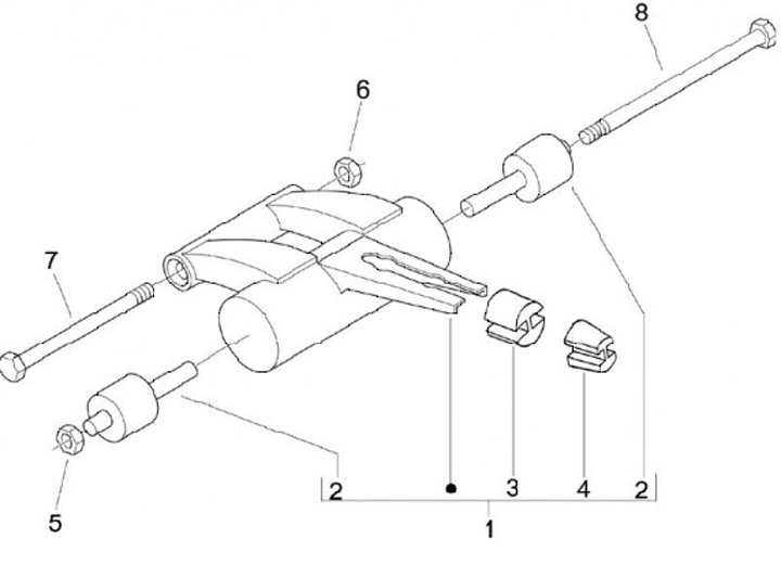
Rocker bar
Piaggio Zip 50 SP2 (2009, ZAPC25000)
Sort