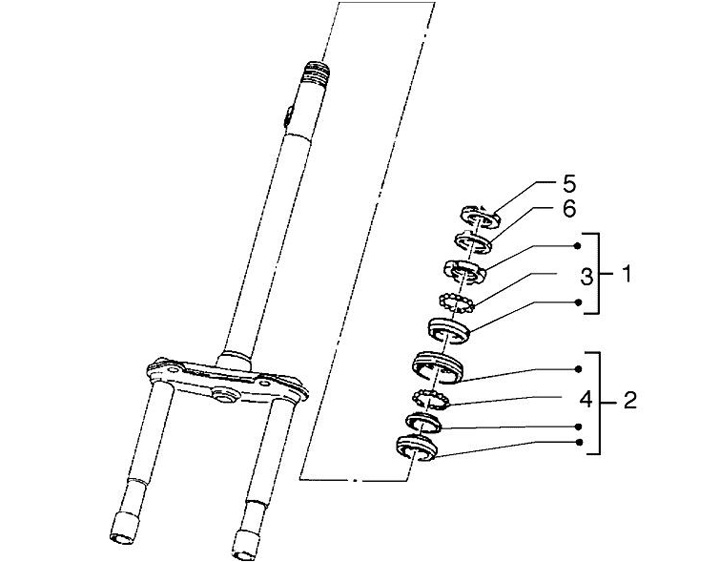
Steering set
Gilera ICE 50 (2002, ZAPC30000)
Sort