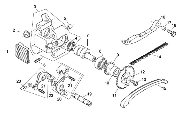
Valves
Aprilia Mojito 125 (2000-2001, ZD4PM)
Sort