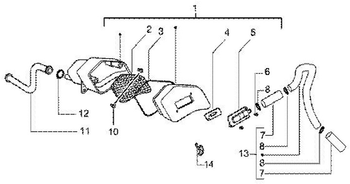
Caja aire secundario
Gilera Runner 50 (2002-2004, ZAPC36400)
Ordenar