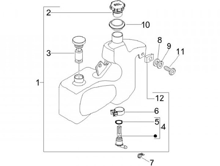
Depósito de aceite
Vespa LX 50 (2-tiempos, 2004, ZAPC38101)
Ordenar