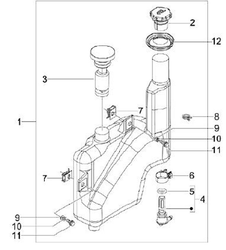
Depósito de aceite
Vespa S 50 (2-tiempos, 2012, ZAPC38103)
Ordenar