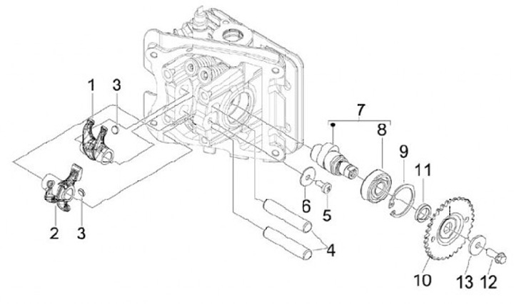
Fijación basculante
Vespa S 50 (4-tiempos, 2011, ZAPC38600)
Ordenar