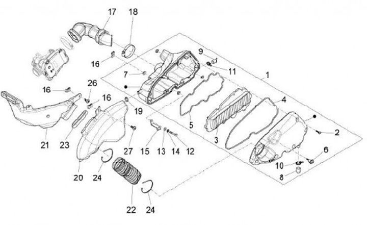
Filtro de aire
Vespa LX 125 (2011-2013, ZAPM68300)
Ordenar