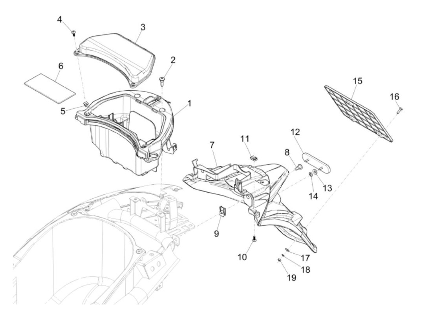
Portamatrículas
Piaggio Liberty 150 IGET Sport (2021-2022, RP8MD4200)
Ordenar