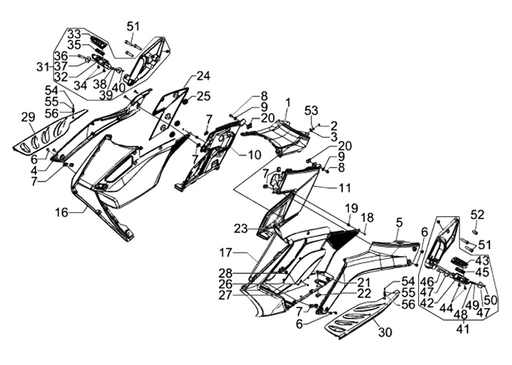
Plancher
Gilera GP 800 Centenario (2011, ZAPM55100)
Trier