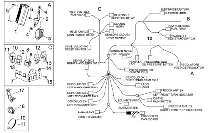
Elektris Sistem I
Aprilia Scarabeo Light 250 (2006-2008, ZD4VRB)
Urutkan