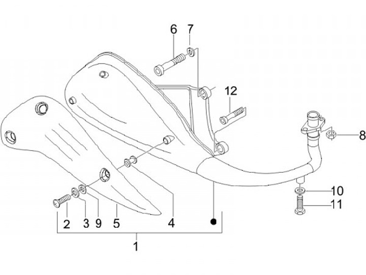
Knalpot
Vespa LX 50 (4-tak, 2005, ZAPC38300)
Urutkan