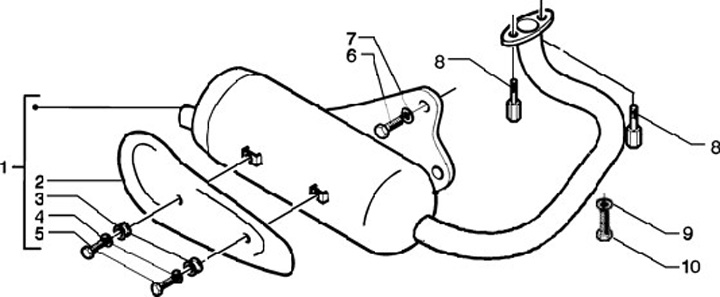
Knalpot
Piaggio Zip 50 II (4-tak, 2001, ZAPC25000)
Urutkan