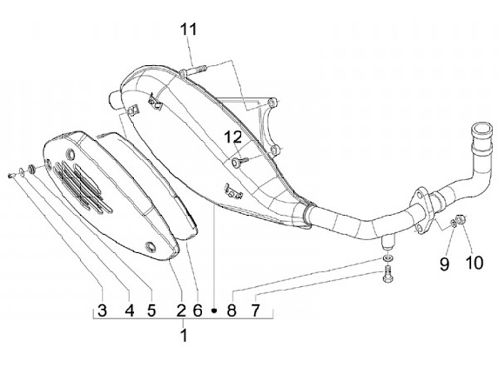
Knalpot
Vespa S 50 (2-tak, 2007, ZAPC38103)
Urutkan