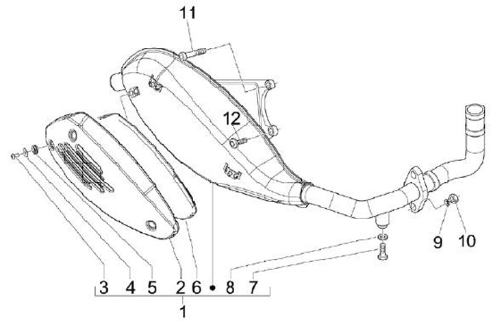
Knalpot
Vespa S 50 Sport (2-tak, 2012, ZAPC38103)
Urutkan