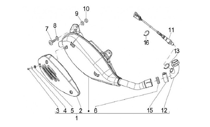
Knalpot
Vespa GTS 125ie Super (2013, ZAPM45300)
Urutkan